私募

 找回密码
 立即注册
搜索
热搜: 活动 交友 discuz

望渊:比特币以太坊支撑将逐渐下移,多头布局你准备好了吗

[复制链接]
发表于 2020-9-19 08:22:18 | 显示全部楼层 |阅读模式
昨天晚间十点半望渊在全网给到的比特币和以太坊操作建议,比特币给到10750-10800做多以及11000-11050做空的操作建议,以太坊给到370-375做多,385-390做空的操作建议,先来说下以太坊的操作情况,多单由于行情在377就开始反弹并未触及激活,很遗憾,而凌晨行情其实出现了一波不错的涨幅,最高长到了394上,由于时间在深夜凌晨,空单没能在高位进场,早间才在389这里进场空单,考虑到上方390这一压制点位的突破,空单小赚5个点也就止盈了,而比特币就比较顺利了,多单在下午顺利止盈后,空单点位也被触及并且晚间顺利止盈,虽然目前来看下方还有一定空间,但是时间也这么晚了,既然走出了这么多利润也就没必要去熬夜盯盘了。9 {( k% `: }( J# @3 w, \* N& y) k
望渊:比特币以太坊支撑将逐渐下移,多头布局你准备好了吗-1.jpg * P4 v3 ^& V) W% l$ n0 m
1 s1 ]6 M" D! E; f
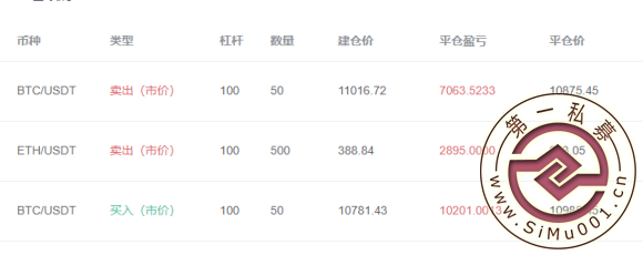
以太坊在实际操作中获利5.7个点,比特币多单获利204点,空单获利141点,学员操作建仓10手,以太坊获利大概2900u,比特币多单获利10200u,空单获利7000u,共计获利20159u,折合人民币为14万左右,今天行情整体波动虽然没有太大,但是也不算小,基本走出了一个不错的利润空间,而我们操作也是非常的简单,只要行情到达我们的进场点位操作即可,至于止盈止损我们只需要严格执行就好。
: b0 N; \* d' h4 C0 e, C! ] 望渊:比特币以太坊支撑将逐渐下移,多头布局你准备好了吗-2.jpg
  K; n/ I. A6 F3 E& E( Q+ f2 x  D3 g1 _' L& @2 R
再来看下行情,关注望渊一段时间的朋友应该这几天都清楚了望渊的思路,前面两篇文章也讲到过,行情冲高触及前期头肩顶颈线后,在短期内想要突破颈线是很有难度的,而从五浪上行形态来讲,此时如果前期的三浪形态结束要开始新的五浪上行形态,那么1浪将在颈线位置形成并回撤,这里我们需要先知晓,基本波浪中必然有一个拓展浪,而一般拓展浪为第三浪,那么在第三浪作为拓展浪的基础上,2浪最好是至超过1浪的斐波那契0.618回撤位,但是超过0.5这个位置,所以这也是我们下方给到中长线多单的布局挂单区域。薇:WY73549: |0 d' R; P5 K
望渊:比特币以太坊支撑将逐渐下移,多头布局你准备好了吗-3.jpg
9 k$ e+ F' ^. _: @% i( F* L( L3 V
5 O+ d+ {' h; K短期行情我们也讲到过,下方突破情况主要关注10800和10600,从今天白盘整体行情运行情况可以看到10800基本算是告破了,那么短期我们这里将不再去介入多单,多单点位可以下移至日线中轨以及MA10均线处,而上方空单点位则可以适当下移,放在MA30均线附近即可。5 s( s* |$ U' {% A% p$ @! m
总结下来就是:
6 j' N, p1 T- ~2 ], Y下方在10650-10700附近进场多单,止损放在10600下方,  j' d, i, L5 k! ^4 r
上方在11050-10950附近进场空单,止损放在11130上方,% Y0 J& I1 G7 G, J& I
目标皆看150-250点即可,或者根据自己的心理预期点位去止盈。
2 c( a0 O0 k( h+ F. H3 ]; b5 Z; W
& ]2 q8 b# Q+ J, {" i, S: f( X' T6 ]
$ k5 J  x) B6 Y6 j  X( O! c9 B7 z以太坊从日线我们可以看到,在370-375区域密集着多条均线支撑与下方,而从此前的三间支撑情况来看375这一支撑点位也许会有所下移,那么短期我们可以重点关注这里,支撑有效则依然这里建立多单,上方压制目前依然处于390这个位置,而从此前的突破情况来看,后期如果没有出现强势突破,那么承压效果依然在。操作上依旧围绕370和390这个个区间即可。
- u5 T% F4 ]+ j7 J+ Y6 N 望渊:比特币以太坊支撑将逐渐下移,多头布局你准备好了吗-4.jpg
; w  L1 ~% N! u% n
7 I$ |+ R" u! D# e% }总结下来就是:
! I& t4 n& m8 k2 x& A下方在365-370附近建立多单,止损360下方,
! ^. h  t8 m, K% M1 n9 f上方在390-385附近建立空单,止损395上方,* Y, z1 M+ n1 k: n7 M. F
目标看10-15点,或者根据自己的心理预期点位去止盈。! W- ^" U9 f$ F# [  e0 w

3 |' \( ]8 b% H7 R4 e
$ N) m) }5 u/ g9 v/ s8 u& X在参考分析策略时,请你事先知晓,保证金合约交易属于高风险、高收益投资品种,且任何策略都并非万无一失,临盘决策需有一定的行情判断能力及风险预警能力,投资有风险,入市需谨慎!对点位把握不准,想获取实时操作建议的或者想进直播讲堂学习的朋友,可以直接联系望渊WY73549本人,成为我的实仓学员后,就可以享受到我的在线实时操作指导。  
8 [8 |7 j2 B8 g6 `2 b* }5 U
) R- ~, {) `- Y' z1 S. k5 q1 I) p& B9 Z+ Q
文/望渊/WY73549       独家分析,禁止转载
http://www.simu001.cn/x219575x1x1.html
最好的私募社区 | 第一私募论坛 | http://www.simu001.cn

精彩推荐

回复

使用道具 举报

您需要登录后才可以回帖 登录 | 立即注册

本版积分规则

QQ|手机版|Archiver| ( 桂ICP备12001440号-3 )|网站地图

GMT+8, 2026-2-4 23:29 , Processed in 2.646068 second(s), 34 queries .

Powered by www.simu001.cn X3.4

Copyright © 2001-2021, Tencent Cloud.

快速回复 返回顶部 返回列表